Sony, возможно, работает над игровыми наушниками, которые способны подключаться к двум устройствам одновременно
Hennadiy Chemеris
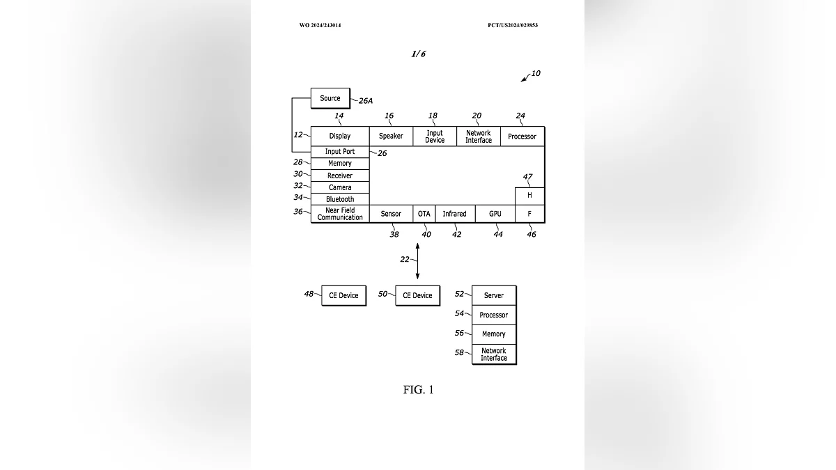
Sony, вероятно, работает над наушниками, главной особенностью которых станет возможность подключаться к двум устройствам одновременно. Недавно компания подала заявку на регистрацию соответствующего патента.
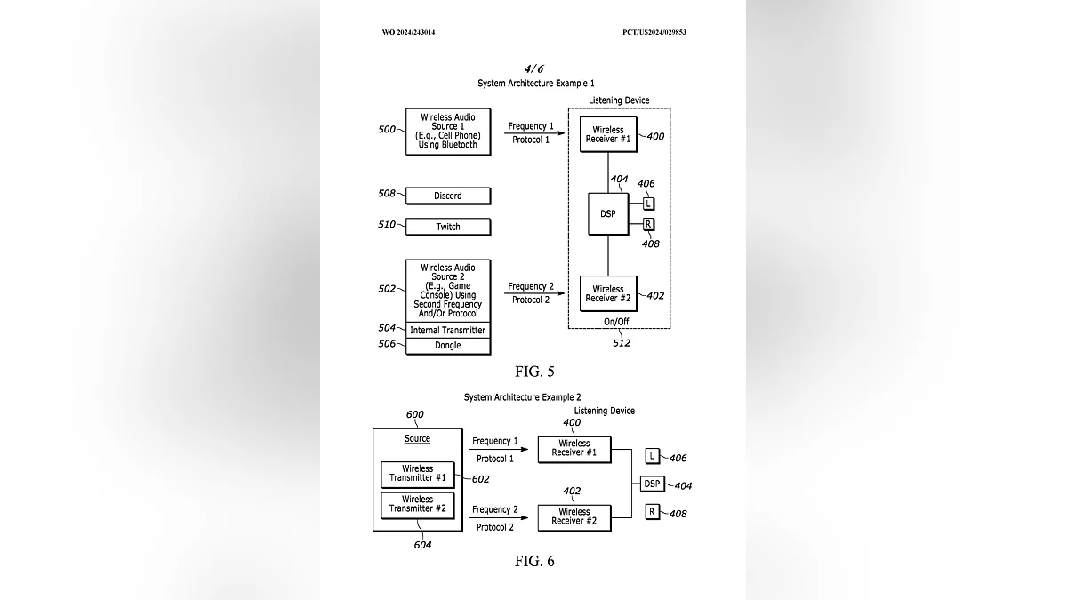
Сообщается, что наушники смогут работать с двумя источниками звука одновременно. Речь идет о беспроводных сигналах Bluetooth и RF (радиоканал).
Учитывая, что заявку на патент подала Sony Interactive Entertainment, Inc., вероятно, такие наушники ориентированы на игровую аудиторию и работу с системами PlayStation.
Кроме того, гарнитура сможет не только поддерживать два типа беспроводного подключения, но и смешивать два сигнала в самой гарнитуре.
Напомним, ранее Sony подала заявку на регистрацию патента ИИ-технологии, которая может помочь в разработке игр и создании ассетов.



