Sony патентует ИИ-технологию, которая поможет в разработке игр и создании ассетов
Hennadiy Chemеris
Sony зарегистрировала еще один патент, который связан с искусственным интеллектом. Согласно первым сведениям, на основе нейросети хотят создать технологию, которая поможет создателям контента и разработчикам создавать игровые ассеты.
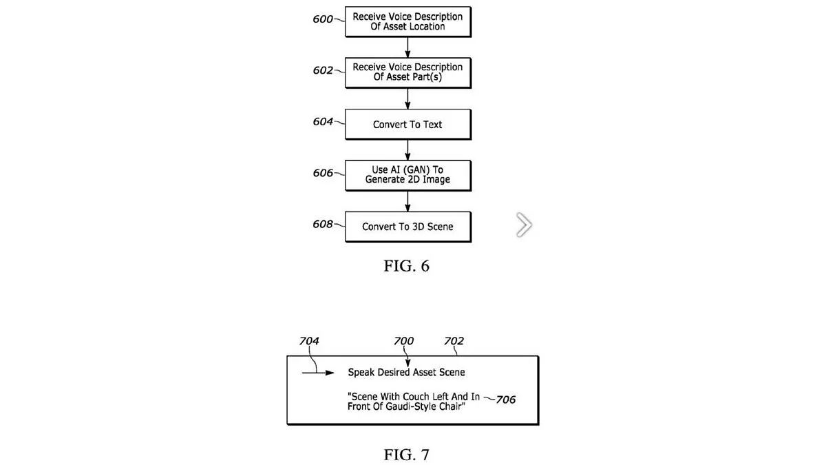
ИИ должен будет преобразовывать голосовые команды в 3D-модели, которые впоследствии можно будет добавить в игру.
Вероятно, технология будет задействована для быстрого создания фоновых объектов, что должно не только упростить, но и ускорить процесс разработки.
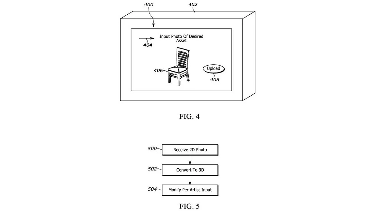
В качестве примера в патенте приводится пользователь, который создает и изменяет стул с помощью искусственного интеллекта для дальнейшего внедрения его в игровую сцену.
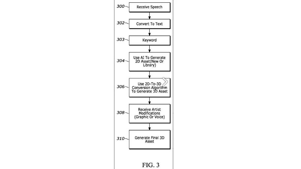
Вот как описывается алгоритм работы технологии:
- Пользователь дает голосовую команду;
- ИИ обрабатывает ввод, преобразует его в текст и создает соответствующую 2D-модель;
- Затем 2D-модель преобразуется в 3D с помощью специального алгоритма;
- Пользователь может изменять сгенерированный ассет, используя примеры изображений или голосовые команды;
- Готовый ассет может быть добавлен в игру.
Будет ли новая технология доступна игрокам, пока не сообщается.
Напомним, ранее мы сообщали о том, что мошенники стали использовать ИИ, чтобы взламывать учетные записи Gmail.




