Будущие разработки Apple: гнущиеся смартфоны, искусственный интеллект и коммуникаторы в стиле Star Trek
Ermolaev Alexey
7 мая состоялась презентация Let Loose, на которой показали проекты Apple, которые выйдут в ближайшее время. Помимо этого, в недрах компании ведутся и другие разработки в самых разных сферах. Именно им посвящена наша статья.
Новые версии iPad и периферия для них
В новом iPad Pro используется сразу два OLED-дисплея, что позволяет добиться картинки высокого качества. Кадровая частота обновления экрана будет колебаться от 1 до 120 Гц, в зависимости от контента. В качестве процессора выбран десятиядерный чип M4, который способен выполнять до 38 триллионов операций в секунду. Он же будет использоваться в следующих моделях MacBook и моноблоков iMac. Его ключевая особенность — полноценная поддержка функций искусственного интеллекта. Специально для нового iPad Pro выйдет клавиатура Magic Keyboard, которая не совместима с другими устройствами.

Ещё в продаже появится iPad Air с более простым чипом M2. К его достоинствам можно отнести 12-мегапиксельную камеру с функцией Central Stage, которая позволяет держать фокус сразу на всех участниках беседы по FaceTime. Она снимает видео в разрешении 4K со скоростью 240 кадров в секунду.
Также можно отметить демонстрацию нового стилуса Apple Pencil Pro c вибромотором и гироскопом. Он позволит нажатием подушечками пальцев на само устройство выделять объекты на экране и активировать другие функции. Обещают, что появится особый жест прокрутки для максимально точного управления стилусом.
Какое устройство от Apple есть у вас?
Серверы для искусственного интеллекта Apple AI
Для функционирования возможностей чипов M2 и M4 будут собраны специальные серверы. Они нужны для обработки данных при помощи искусственного интеллекта. Заявляется, что Apple будет активно применять ИИ не только в новых устройствах, но и в тех, которые уже появились в продаже. Например, с его помощью будут улучшены стандартные приложения — браузер Safari, голосовой помощник Siri и поисковик Spotlight Search.
iPhone 16
Шестнадцатый iPhone внешне будет мало отличаться от предыдущих моделей. Обещают новый дисплей, который выполнен по технологии microLED, отличающийся повышенной яркостью и улучшенным энергосбережением. Скорость интернета повысится благодаря модемным чипам 5G и поддержки Wi-Fi 7. Камера снабжена перископическим объективом, что позволяет увеличить угол обзора на 12%.
Всего будет представлено пять версий телефона — iPhone 16, iPhone 16 Plus, iPhone 16 Pro, iPhone 16 Pro Max и iPhone 16 Ultra. Последний обладает самым большим дисплеем, лучшей камерой и особым дизайном с полным отсутствием портов.
Статьи про гаджеты
- Будущие разработки Apple: гнущиеся смартфоны, искусственный интеллект и коммуникаторы в стиле Star Trek
- Голосовой помощник Rabbit R1 — ещё одна попытка заменить смартфон. Неужели на этот раз получилось?
- Что такое AI Pin от экс-сотрудников Apple — полноценная замена смартфону или бесполезный гаджет?
- Все самое интересное про очки смешанной реальности Apple Vision Pro. Революция в мире VR или игрушка для богатых?
- Как люди используют Apple Vision Pro — самые интересные и смешные видео
- А теперь серьезно: для чего нужны Apple Vision Pro? Разбор
Складные устройства от Apple
В моду могут вернуться телефоны-раскладушки, которые были популярны в начале нулевых. Именно такой форм-фактор выбран для нового iPhone с диагональю 7,9 или 8,3 дюйма, который появится в продаже до конца 2026 года. Примерно в это же время на прилавках магазинов окажется складной iPad Mini. В зависимости от модели, диагональ будет варьироваться от 8,3 до 12,9 дюймов.
Помимо этого, Apple запатентовала складной MacBook. Его главное отличие по сравнению с обычным ноутбуком — отсутствие петель. Вместо них используется гибкий корпус.
Управление умным домом при помощи жестов
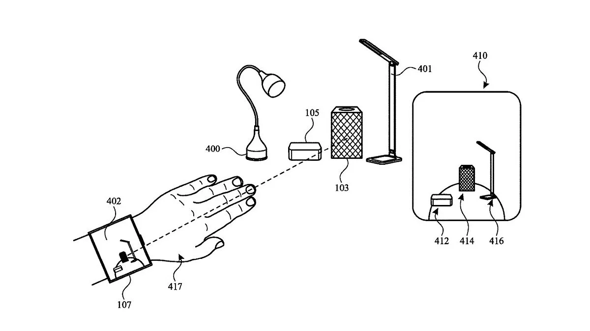
Среди новых патентов Apple есть устройство, которое позволяет жестами регулировать функции умного дома. Среди них включение и выключение техники щелчком пальцев, регулировка света взмахом руки и так далее. Конкретные действия устанавливает сам пользователь. В патенте утверждается, что гаджет использует датчики IMU (инерциального измерительного блока): гироскопа, акселерометра и магнитометра. Судя по всему, устройство будет крепиться на запястье. Помимо связи с домашней техникой, предполагается ввод голосовых команд и доступ к различным онлайн-сервисам.
Умное кольцо
Этот гаджет может стать альтернативой или даже заменой Apple Watch. Кольцо со встроенным микро-дисплеем позволит отслеживать здоровье пользователя, принимать звонки и совершать платежи. Управление будет осуществляться при помощи жестов. Предполагается совместимость с iPhone и iPad.
Клавиатура, которая отталкивает крошки
Описание такой клавиатуры может показаться забавным, но на деле возможность автоматически избавляться от мусора весьма полезна. Причём речь не только о хлебных крошках, но и вообще о любых мелких предметах, которые застревают между клавишами.
Коммуникатор в стиле Star Trek
На днях был одобрен патент на устройство с направленными звуковыми волнами и микрофоном. Пользователь сможет слушать музыку или принимать входящие вызовы с телефона, но при этом не мешать окружающим. При подобном подходе не блокируются звуки вокруг, в отличие от обычных наушников. В сети уже шутят, что этот гаджет напоминает коммуникатор из сериала «Звёздный путь» (Star Trek).
Стилусы будущего
Pencil Pro, о котором мы рассказали в начале статьи, не предлагает ничего кардинально нового. Однако среди патентов Apple заявлены интересные функции для подобных электронных ручек. Первый предполагает возможность рисовать в воздухе и передавать полученное изображение на планшет, телефон или компьютер. Второй позволяет копировать цвет из окружающей среды на рабочее пространство iPad для последующей работы с ним.
***
А какие устройства от Apple ждёте вы? Или вас не интересует продукция этой компании? Делитесь мнениями в комментариях!
Какой гаджет от Apple вы ждёте?
-
Как люди используют Apple Vision Pro — самые интересные и смешные видео -
Все самое интересное про очки смешанной реальности Apple Vision Pro. Революция в мире VR или игрушка для богатых? -
А теперь серьезно: для чего нужны Apple Vision Pro? Разбор -
Упс: Apple пришлось извиниться за слишком неоднозначную рекламу iPad Pro, на которую обрушили волну критики -
Очень ограниченное издание Deus Ex: Human Revolution выйдет в конце августа -
ТОП-40 лучших игр про выживание на PC -
ТОП-30 самых сложных игр — вам будет больно -
ТОП-20: лучшие кооперативные хорроры (2021-2025) -
ТОП-30: лучшие кооперативные игры для PS4 и PS5 — во что поиграть с друзьями на одной консоли -
Лучшие мобильные игры для двоих на iOS и Android (на 2025 год)






