
Новый патент Sony показал возможный интерфейс PlayStation 5

В сети обнаружили очередной патент Sony. На этот раз изобретение японской компании позволяет взглянуть на предполагаемый принцип работы экрана PlayStation 5.
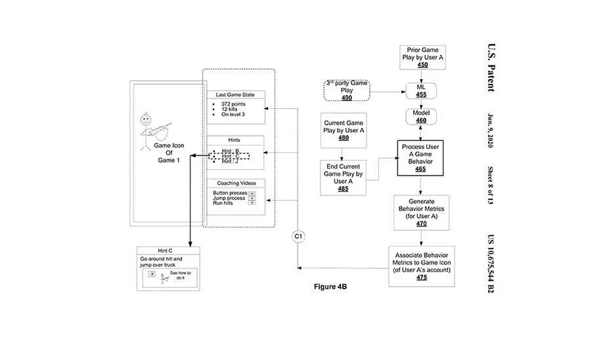
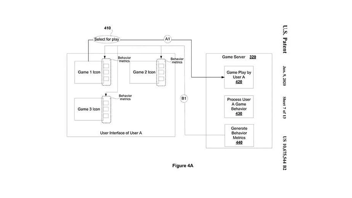
Патент описывается как «Персонализированный UI на основе поведения внутри приложения». По задумке пользователи смогут увидеть внутриигровую статистику (например, количество убийств и смертей) и советы по прохождению внутри иконки самой игры. Кстати, теперь все игры должны храниться в отдельной папке.
Иными словами, нас ждет интерфейс, практически идентичный PlayStation 4, но с персональной информацией к игроку. Важно отметить, что это всего лишь патент, а значит финальный вариант стартового экрана может быть совсем другим.
Презентация PlayStation 5 пройдет уже завтра, 11 июня в 23:00 МСК. В нашем недавнем материале мы обсудили, что ждем от одного из важнейших летних ивентов.
-
Слух: новую часть Crash Bandicoot могут анонсировать уже сегодня
-
«Будущее гейминга» — в сети показали еще один вариант дизайна PlayStation 5
-
В СМИ намекнули, каких анонсов стоит ждать от сегодняшней презентации PlayStation 5
-
Официально: презентация PlayStation 5 пройдет 11 июня
-
Появился патент девкита PlayStation 5 с уникальной системой охлаждения и 6 вентиляторами