Появился патент девкита PlayStation 5 с уникальной системой охлаждения и 6 вентиляторами
Vladimir Kunshin
Игроки находятся в ожидании представления дизайна PlayStation 5. Зато в сети еще в прошлом году появились изображения devkit-консоли с уникальным дизайном. Теперь же версию для разработчиков загрузили на сайт патентного бюро.
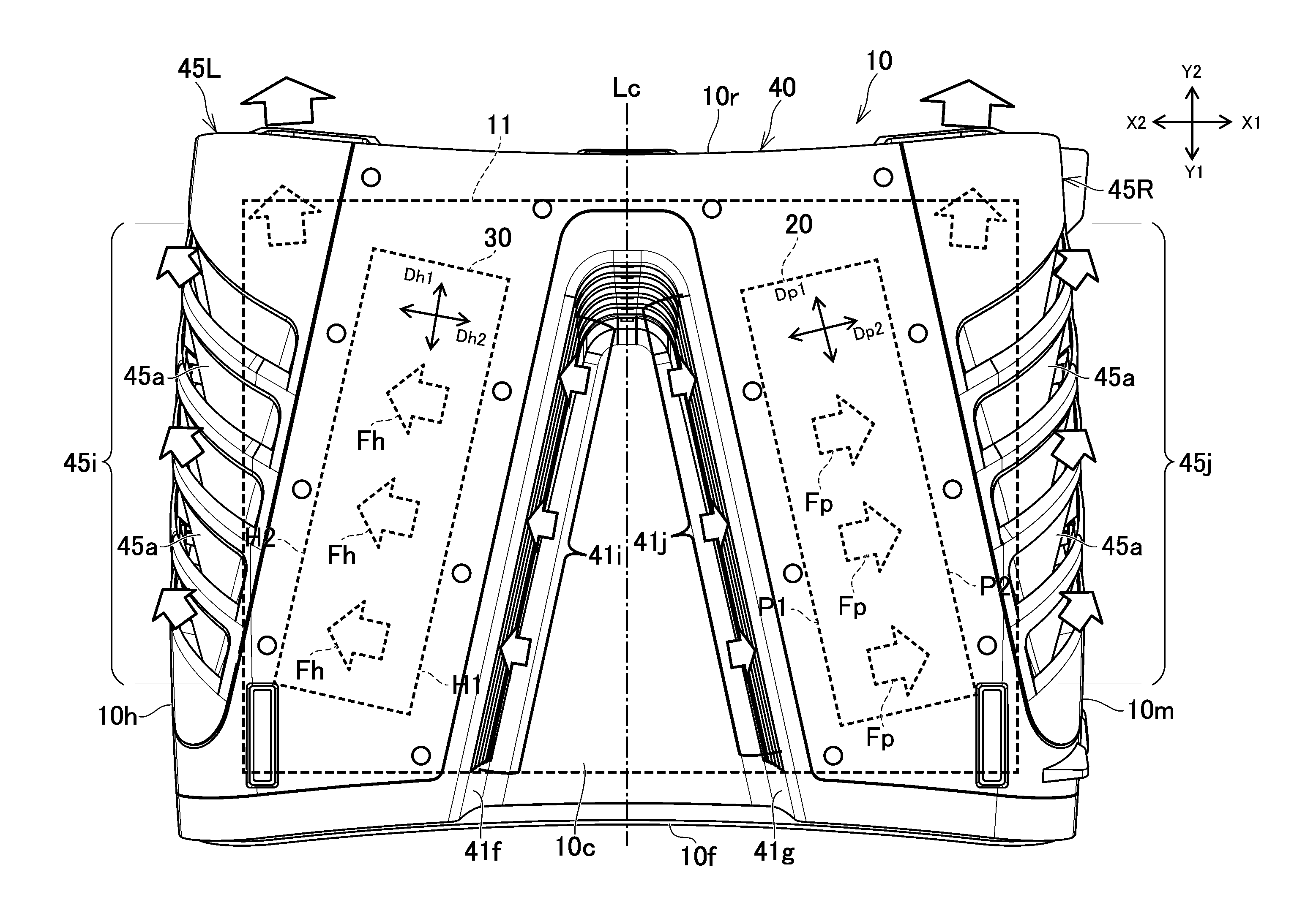
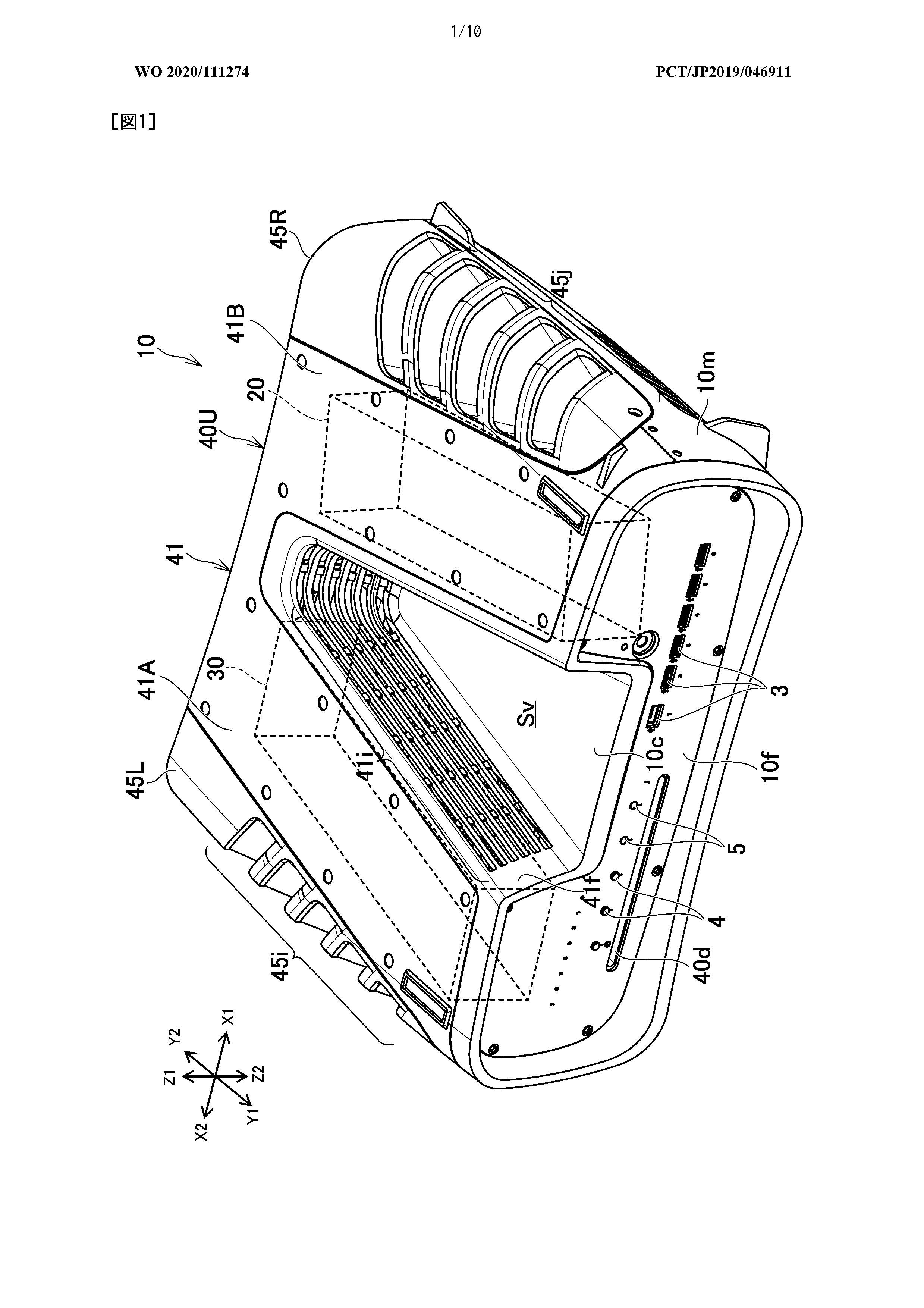
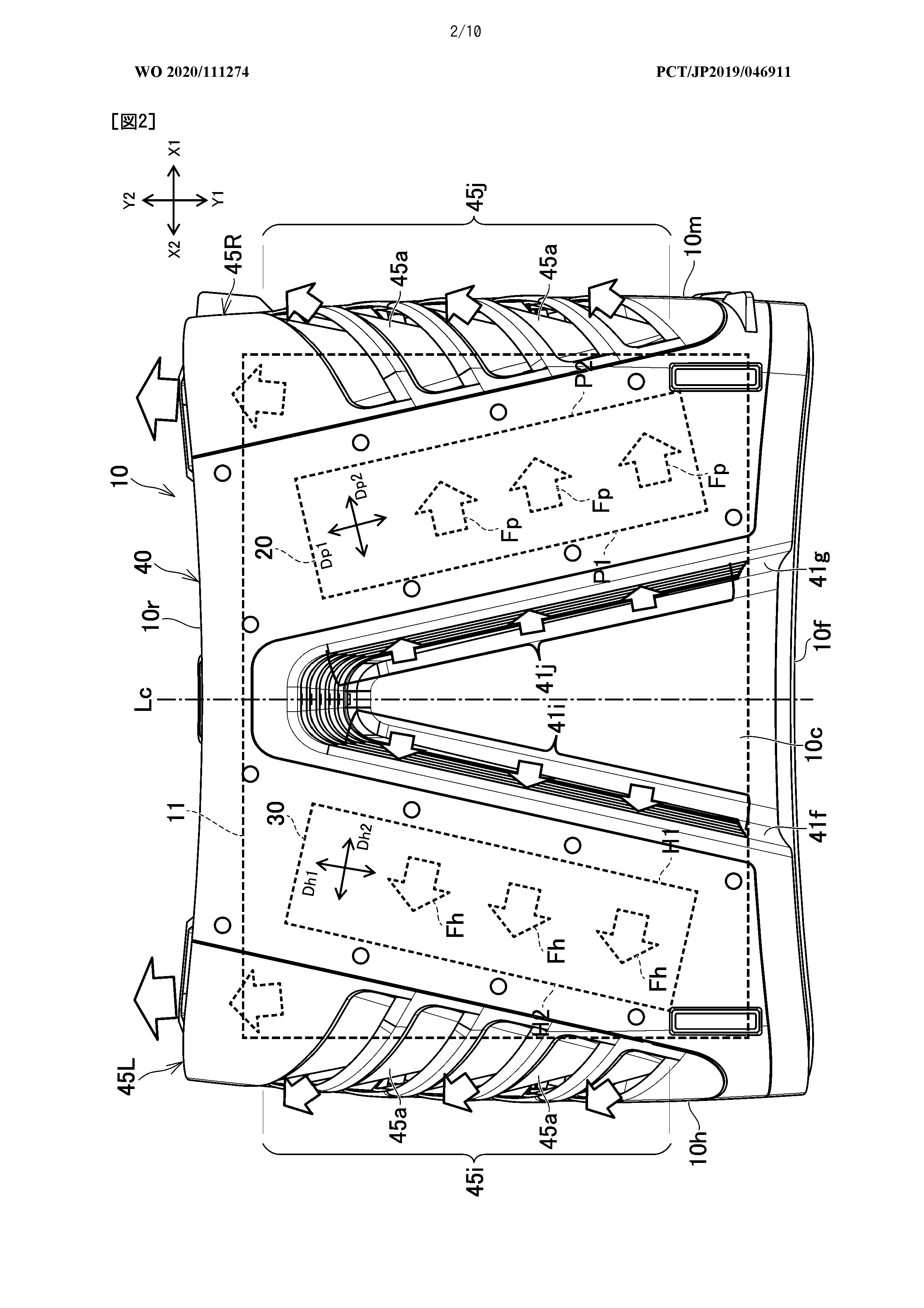
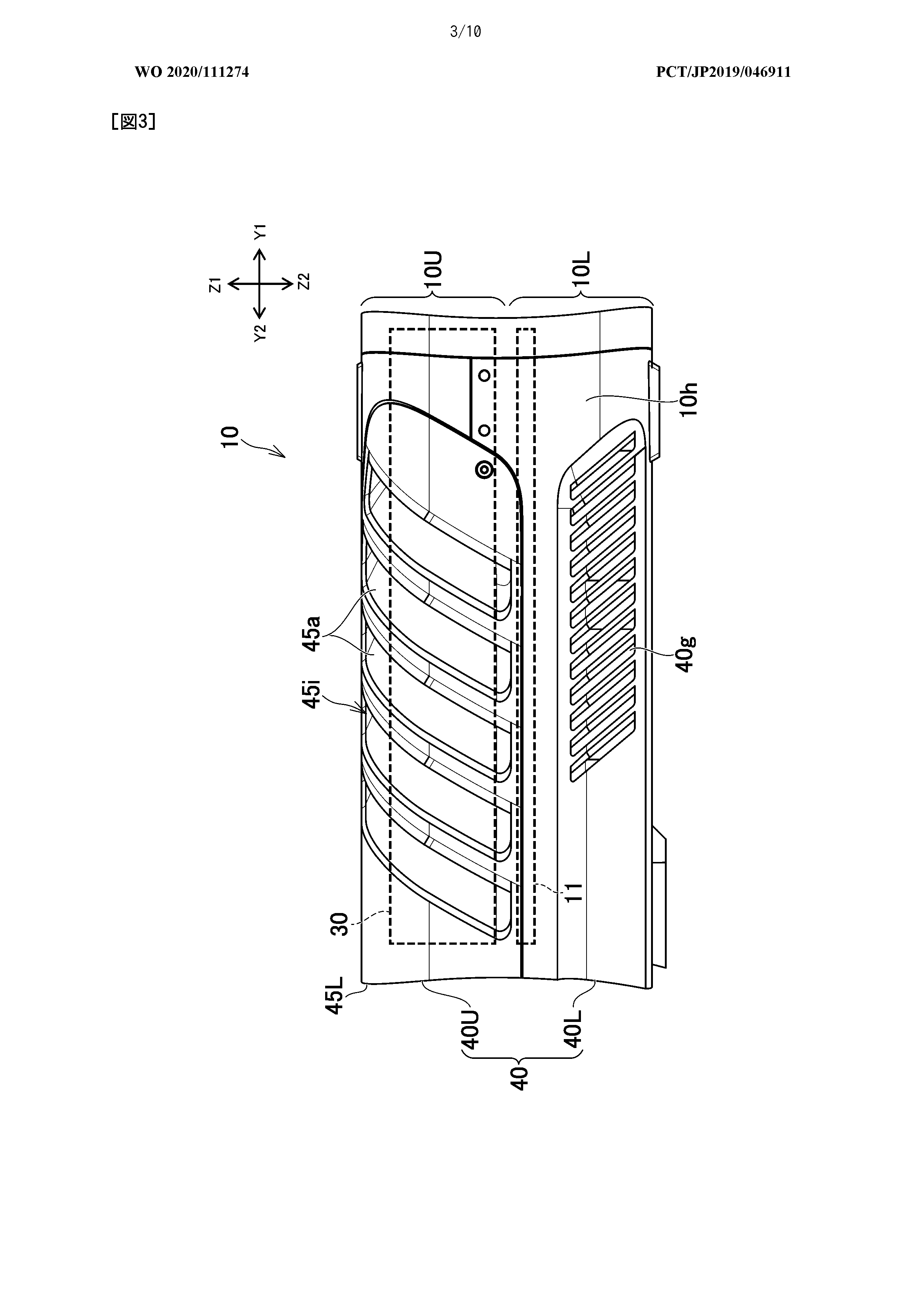
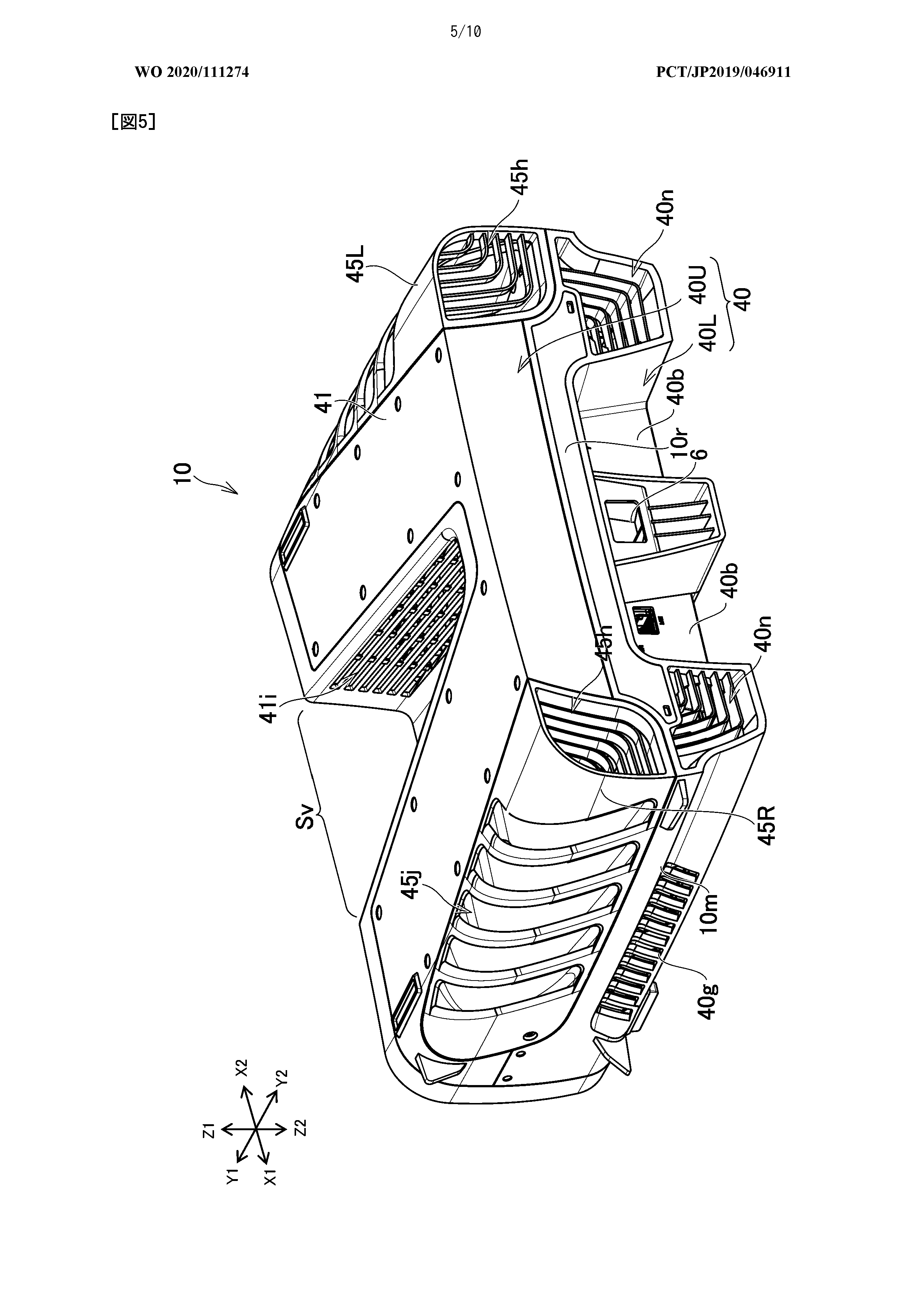
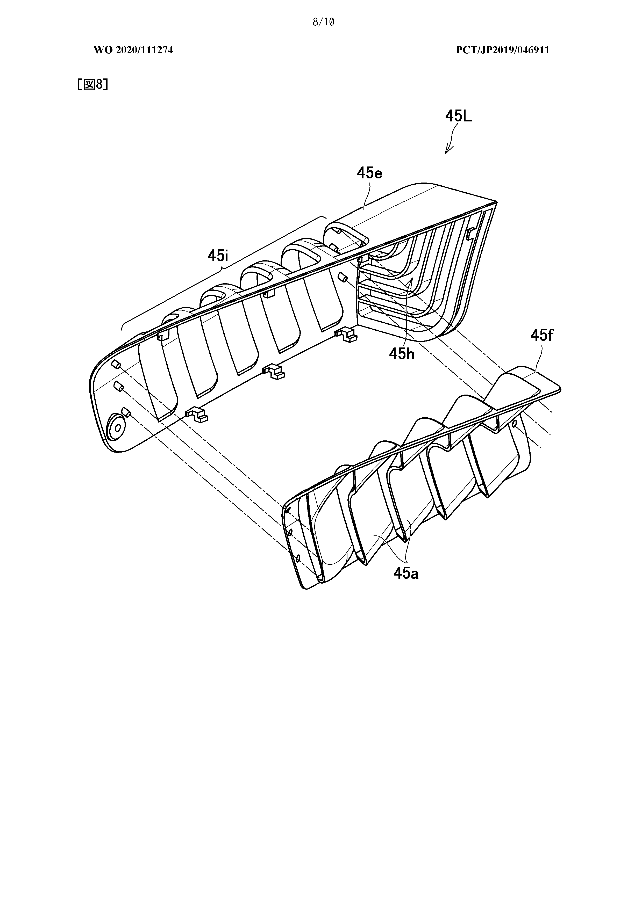
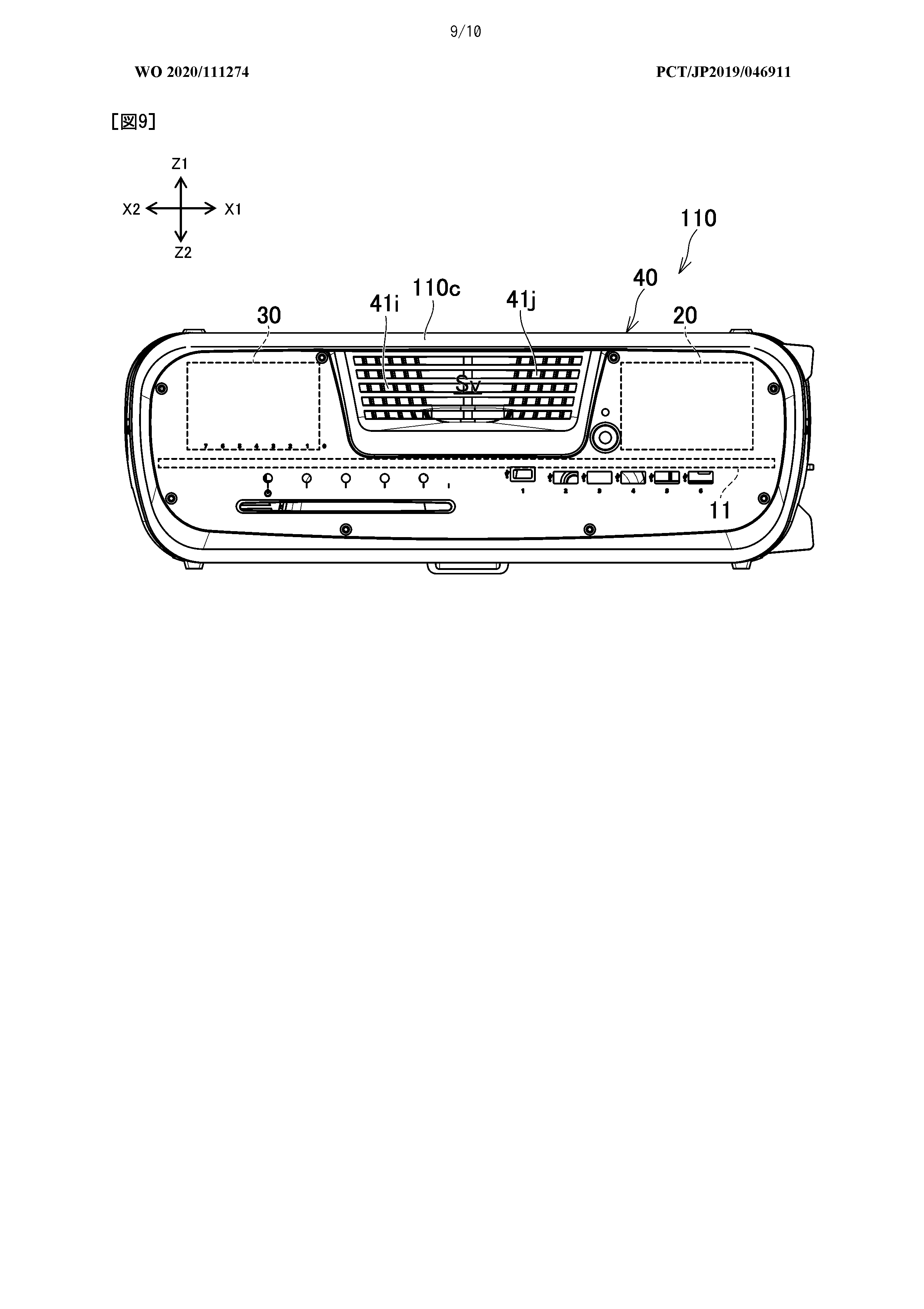
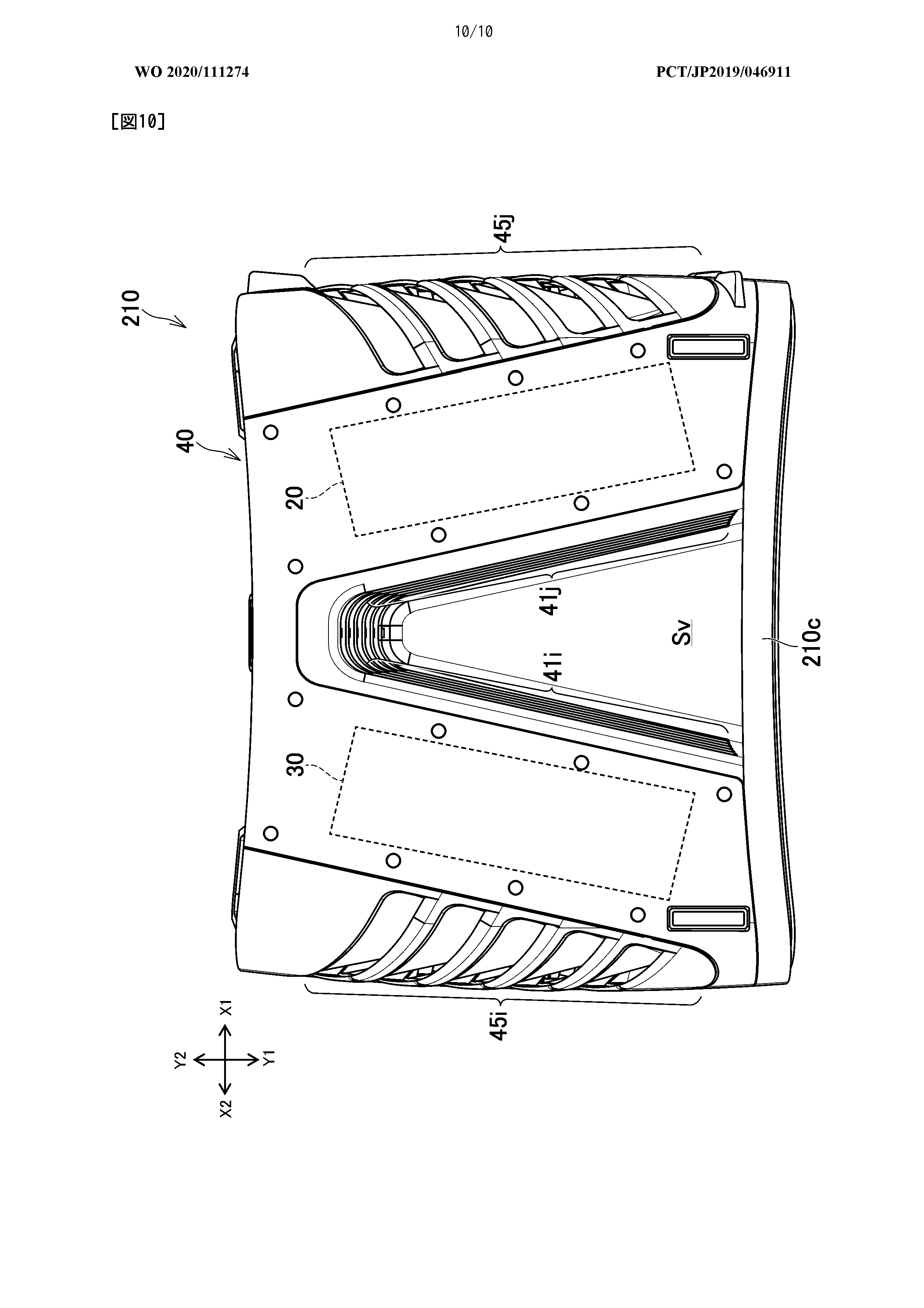
На сайте Всемирной организации интеллектуальной собственности (WIPO) открылся доступ к изображения девкита PS5. И хотя патент не вдается в технические подробности, можно увидеть, как охлаждается эта версия консоли.
Devkit использует шесть вентиляторов, которые расположены в две линии на «крыльях» PS5. Три вентилятора охлаждают питание и три — гибридный процессор. Также используется система с тепловыми трубками для охлаждения жидкости.
Будет ли использовать PS5 похожую систему охлаждения? Вероятнее всего, ведь Sony заявляла о желании предотвратить ситуацию с шумностью PS4 и обеспечить более тихую работу консоли.
-
Глава PlayStation намекнул на стоимость PS5. Похоже, что низкой цены ждать не стоит -
Фанат придумал экран загрузки для PS5 и показал его на видео. Работа понравилась почти всем -
Стучать разрешается: EA Sports пообещала бороться с гомофобами, расистами и токсичными геймерами в своих играх -
Sony оштрафовали на 167 миллионов рублей за отказы в возврате денег -
Sony убрала информацию о выходе PlayStation 5 в этом году. Неужели консоль перенесут?










