Железо и технологии Новости Valve может работать над новым Steam Controller со сменными стиками и кнопками. В сети нашли патент
Valve может работать над новым Steam Controller со сменными стиками и кнопками. В сети нашли патент
Vladimir Kunshin
11 апреля 2020, 09:45
11 апреля 2020, 09:49
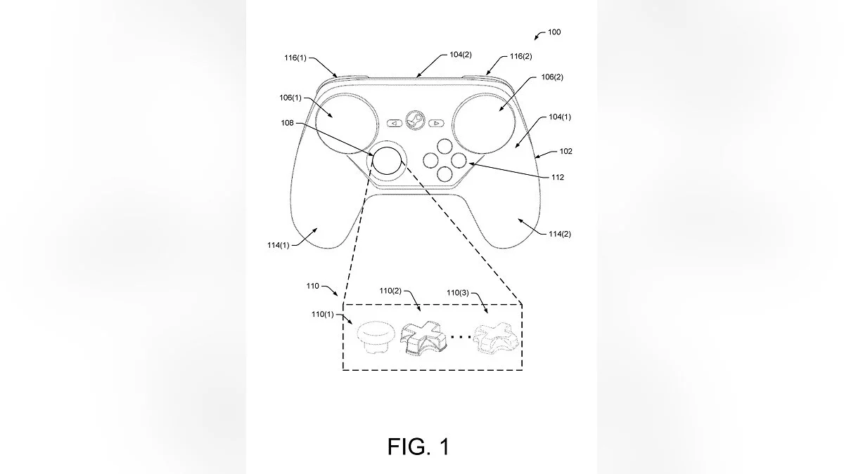
В сети обнаружили патент Valve на новую версию Steam Controller, которая предлагает пользователям удобно располагать крестовину и стики.
Хотя Valve официально прекратила продажу своего игрового контроллера в 2019 году, новый патент может говорить о появлении обновленной версии Steam Controller с кастомизацией управления. Исходя из патента, стики, крестовины, трекпады, кнопки можно будет менять по собственному желанию и выставлять конфигурацию, наиболее подходящую для определенной игры.
Как отмечают пользователи ResetEra, в декабре прошлого года Valve обновила прошивку Steam Controller, которая связана с неизвестным продуктом. Сам патент был зарегистрирован 13 сентября 2019 года и опубликован 26 марта 2020 года.
-
Контроллер Xbox Series X будет использовать батарейки АА. Microsoft рассказала почему -
Фанат нарисовал PlayStation 5 вместе с новым контроллером DualSense -
Sony официально представила контроллер PlayStation 5 -
Ремастер Half-Life 2 обнаружили в Steam -
Халява: в Steam бесплатно раздают The Search. Игру озвучила актриса, работавшая над GTA 5 и Half-Life: Alyx
