Железо и технологии Новости Sony может добавить в новый DualShock камеру для отслеживания эмоций геймеров
Sony может добавить в новый DualShock камеру для отслеживания эмоций геймеров
Hennadiy Chemеris
24 мая 2019, 12:14
24 мая 2019, 12:17
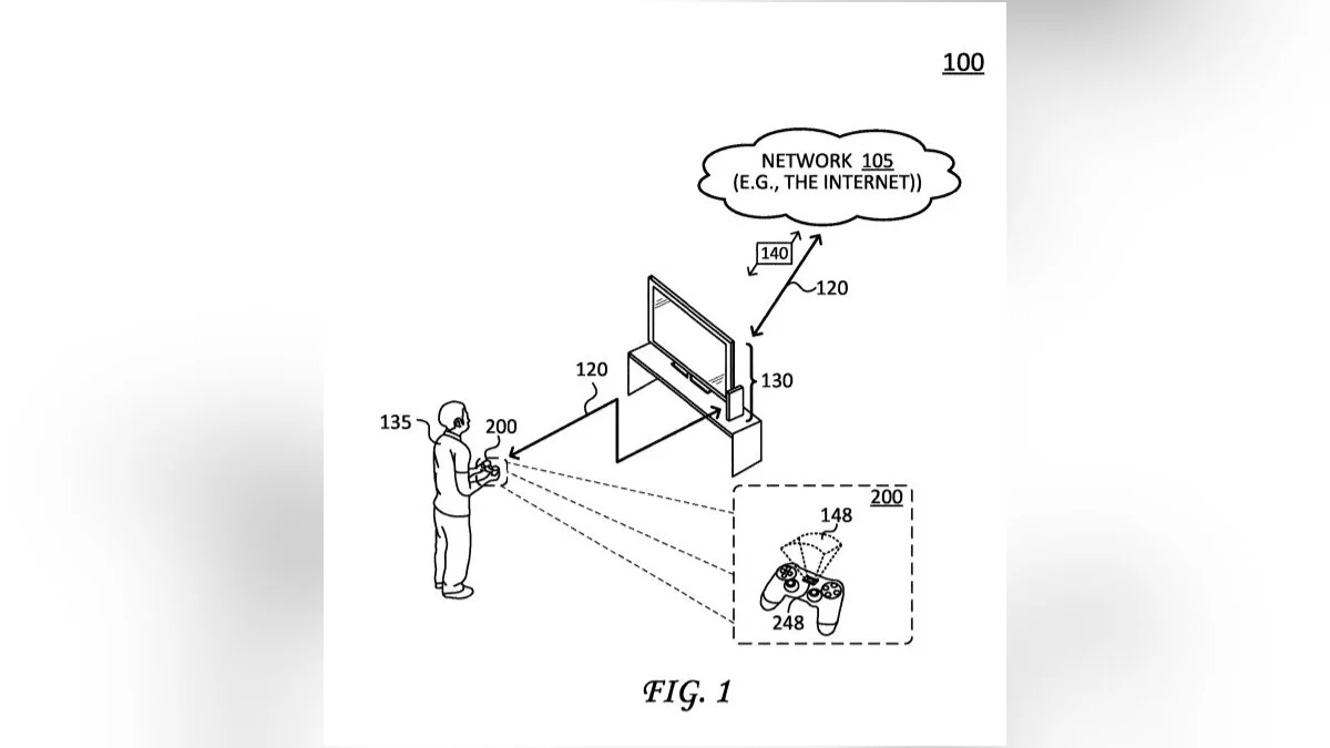
Sony зарегистрировала патент на камеру, встроенную в игровой контроллер. По замыслу, эта камеру будет отслеживать мимику лица пользователя и генерировать соответствующие эмодзи.
Согласно патенту, консоль при этом должна быть подключена к интернету. Игроки смогут отправлять сгенерированные эмодзи друзьям по сети, чтобы показать им свои эмоции во время игры.
Патент был зарегистрирован еще в 2017 году, но сейчас эта информация приобретает все больший интерес, поскольку Sony открыто рассказала о новой PlayStation. Издание Segmentnext допускает, что именно в ней появится функция с отслеживанием мимики лица геймера для создания эмодзи.
Тем временем, Microsoft запатентовала контроллер Xbox с тактильной панелью для людей с нарушением зрения.
-
VGTimes разыгрывает два зеленых геймпада для PS4 — для участия нужно лишь подписаться на нас в соцсетях -
Инсайдер рассказал о новых функциях, которые могут появиться на PlayStation 4 -
Sony запатентовала технологию VR-перчатки, которая позволит потрогать виртуальные объекты -
Sony будет поддерживать PlayStation 4 еще как минимум три года -
Команды PlayStation и Xbox были удивлены внезапному сотрудничеству Sony и Microsoft


