Sony запатентовала очки, которые следят за вашими глазами при использовании VR-гарнитуры
Marat Usupov
Sony продолжает развивать направление аксессуаров для виртуальной реальности — недавно корпорация запатентовала очки, которые следят за вашими глазами при использовании VR-гарнитуры.
Для тех, кто не в курсе, поясним, что у Sony в текущем поколении консолей довольно быстро вышел PlayStation VR — шлем виртуальной реальности собственной разработки. Однако он давно не получал обновлений — и новые фишки вкупе с увеличенной мощностью могут стать решающими в битве консолей следующего поколения. При этом PSVR, по мнению многих пользователей, отстает от конкурентов в лице HTC Vive и Oculus VR.
Пока что Sony не запатентовала PSVR 2, но её инженеры реализовали интересное техническое новшество. Они сделали специальные очки (вроде тех, что корректируют зрение), которые оснащены датчиком слежения за глазами.
Особенность VR-технологий в том, что шлем рендерит отдельное изображение, целиком, на каждый из пары установленных экранов, неважно, в какую точку вы смотрите.
А с помощью датчика слежения можно определить, куда направлен взгляд, позволяя рендерить полноценное изображение только в этот район, скажем, вправо, а левую сторону держать «размытой». Человеческое зрение все равно не воспринимает периферийную картинку идеально четко.
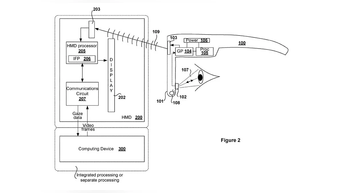
Этот подход существенно снизит вычислительную нагрузку, позволяя поднять качество графики или частоту обновления экранов, что скажется на восприятии. Вот как это выглядит на человеке, фигура 100 — очки, 200 — шлем:
Странно одно — почему нужно использовать специальные очки, поверх которых одевается VR-шлем, ведь это неудобно. Вдобавок, любые очки, даже самые тонки и большие, сужают поле зрения и могут быть неудобны людям с нестандартным профилем, формой лица.
Возможно, что перед нами своего рода «костыль» для первого поколения PlayStation VR, позволяющий поднять производительность и восприятие. А второе поколение получит датчик, уже встроенный в шлем.
С другой стороны, хорошо, что инженерам Sony удалось решить старую проблему, когда VR-гарнитуры пытались одевать вместе с очками — некоторые могли работать и показывать нормальное изображение в таком режиме, другие нет.
-
Не пугайтесь, но так выглядела виртуальная реальность в 90-ых — видео -
Виртуальная реальность с порнухой на борту — вышла специальная версия Oculus Go для взрослых -
Революционный контроллер 3dRudder, позволяющий ходить в виртуальной реальности не вставая с дивана, выйдет в июне -
За смену никнейма в PlayStation Network придется заплатить. Функция уже доступна -
PSVR-эксклюзив Moss выйдет на физических носителях в июне

