AMD предложила необычное инженерное решение, которое может значительно увеличить скорость работы оперативной памяти, при этом модернизируя DDR5. без создания нового поколения. Технология, описанная в недавно опубликованном патенте компании, способна удвоить пропускную способность модулей текущего поколения изменив их архитектуру.
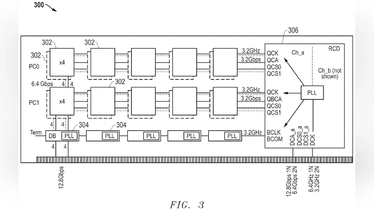
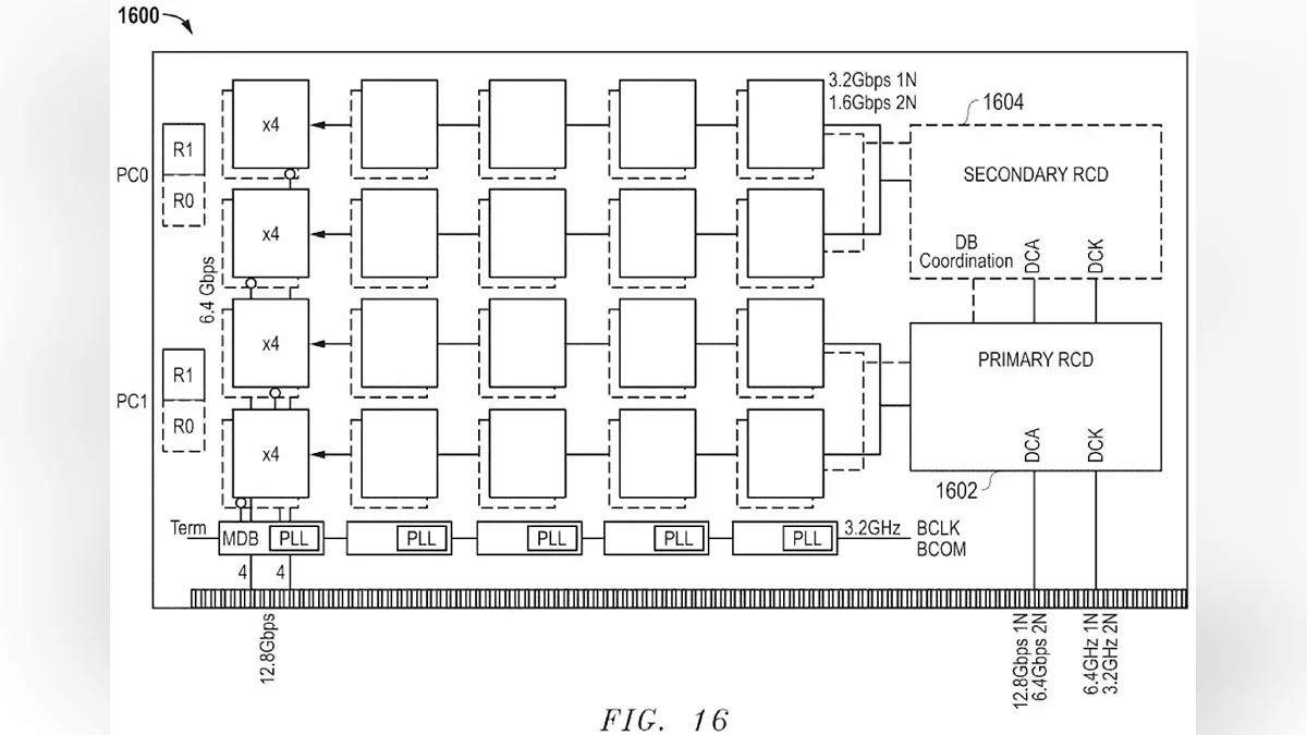
Новый подход предполагает создание модулей HB-DIMM (модули памяти с высокой пропускной способностью), ключевым элементом которых являются специальные буферные чипы, которые управляются несколькими устройствами DRAM одновременно. Чипы организуют поток данных таким образом, что эффективная скорость передачи на шине памяти возрастает с 6.4 Гбит/с до 12.8 Гбит/с.
Основное преимущество разработки — совместимость с уже отлаженными производственными процессами. Для выхода технологии на рынок не потребуется кардинально менять стандарты или заводские линии. В основе архитектуры лежит система так называемых псевдоканалов, где специальный контроллер декодирует команды и распределяет задачи между этими независимыми каналами, что позволяет организовать параллельную обработку данных, уходя от традиционного последовательного доступа, который ограничивает общую пропускную способность.
Технология поддерживает гибкие режимы работы (1n и 2n), что помогает оптимизировать тайминги и снизить энергозависимость, а для снижения задержек инженеры AMD также предусмотрели использование не чередующегося формата передачи данных, который положительно сказывается на целостности сигнала. Новая патентная заявка — часть общей стратегии AMD, направленной на поиск точечных инженерных улучшений для преодоления системных узких мест. Ранее компания уже представляла патенты в области систем охлаждения и оптимизации работы кеш-памяти.
Вместо простого наращивания мощностей компания ищет способы кардинально повысить эффективность существующих компонентов. Аналогичный принцип — делать больше, используя меньше ресурсов, — демонстрирует и другая разработка инженеров AMD. Ранее они представили метод рендеринга сложных 3D-объектов, который потребляет всего 52 КБ видеопамяти вместо гигабайтов. Такие точечные инновации в области памяти и вычислений в конечном итоге могут привести к существенному скачку в производительности будущих вычислительных систем.
-
AMD Zen 6 выйдет в 2026 году с поддержкой AM5 и чиплетами по 2 нм и 3 нм -
Энтузиасты запустили FSR 4 на видеокартах AMD и NVIDIA прошлых поколений -
AMD представила Radeon RX 7700 с 16 ГБ памяти и 256-битной шиной -
AMD обновила линейку процессоров Ryzen Pro -
Неожиданный поворот: топовый чип AMD для ноутбуков теперь нашел применение в мини-PC
Arkadiy Andrienko


