Nintendo Switch будет поддерживать VR и локальный кооператив на четверых
Pavel
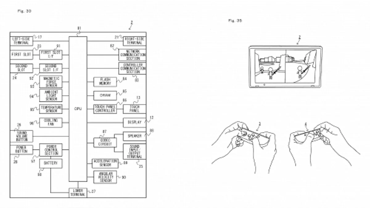
Только что в сети появилась целая тонна различной информации о гибридной консоли Nintendo Switch, устройство оказалось изучено чуть менее, чем полностью. Виной всему оказались патенты, о которых японцы никак не позаботились.
Сегодня истек срок их публичного обнародования, что и стало причиной появления крайне интересной информации. Во-первых, Switch будет поддерживать VR-игры, но только в своем мобильной варианте при помощи универсальных мобильных шлемов. Во-вторых, локальный кооператив предусматривает до четырех пользователей одновременно, даже в мобильном варианте на планшете. В-третьих, панель, которая скрепляет контроллеры, будет сенсорной, так же, как и экран, а сам девайс имеет сенсор скорости и положения, исключая инфракрасный датчик. В-четвертых, отсоединяемые контроллеры имеют дополнительную кнопку на той стороне, которая прилегает к скрепляющей части.
Еще был подтвержден разъем USB Type C и слот для карт памяти. Пользователи NeoGaf сейчас выискивают из всех изображений доказательства батареи в скрепляющей части контроллеров и признаки наличия дополнительных сенсоров в них. Предполагается, что док-станция еще и является «дополнительным вычислительным устройством», по крайней мере, Nintendo его так называет. Получается комбайн какой-то! Разве что кофе не варит.



