Sony подала патент на ИИ-помощника, который продаст микротранзакции, если вы застряли
Vladimir Kunshin
Компания Sony зарегистрировала патент игрового помощника, подсказывающего максимально эффективные и популярные решения, а также направляющего на покупку микротранзаций: DLC, апгрейдов и ресурсов.
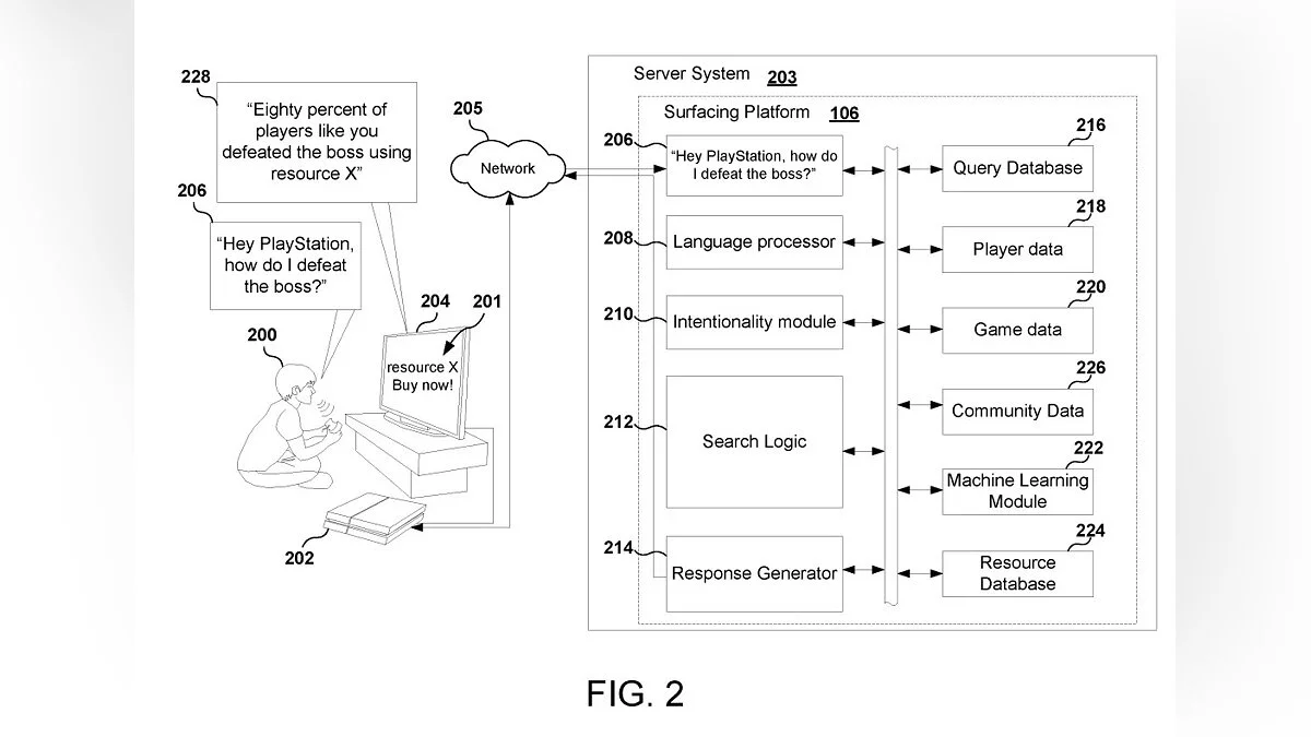
Заявка на патент описывает технологию на базе искусственного интеллекта, призванную помочь игрокам справиться с боссом или головоломкой, на которых они застряли при прохождении той или иной игры. «Платформа поиска внутриигровых ресурсов» представляет из себя систему голосовой поддержки, которая определяет причину проблемы и находит соответствующее решение, включая загрузку необходимого контента (DLC).
На схематических рисунках, которые прилагаются в заявке, в качестве примера используются экранные подсказки, помогающие справиться с противником. На изображении ниже предлагается совет о том, какой ход необходимо сделать в игре God of War, чтобы победить змея Ёрмунганда (хотя в игре он является союзником, а не противником).
Большая часть документа описывает способ объединения данных из игр и дальнейшую их обработку для получения подсказок в прохождении. Эти подсказки не ограничиваются полезными советами. Иногда это могут быть определенные предметы и ресурсы, которые отсутствуют у игрока, но они есть в игровом магазине.
Подсказки и DLC — это лишь часть сложной системы, которую Sony описывает в патенте. Другие решения, которые могут быть предложены игроку для прохождения игры, включают навыки или предметы, использованные большинством других игроков перед прохождением сложного момента. Система работает как своего рода гид, после запроса от игрока она ищет в базе соответствующую информацию.
-
Похоже, Sony уже нашла способ, как избавить геймеров от спойлеров в играх -
Sony пока не знает, сколько будет стоить PlayStation 5 -
Бывший президент PlayStation знатно затроллил геймера, который хотел увидеть PS5 -
229 миллионов долларов — столько заплатила Sony за авторов Marvel's Spider-Man -
На сайте PlayStation появилась страница для PlayStation 5

