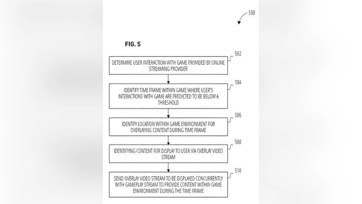
Корпорация Microsoft запатентовала технологию таргетированной рекламы в играх. Судя по описанию, предлагается размещать «ненавязчивую» рекламу на билбордах или на одежде NPC в виртуальных мирах.
Судя по всему, это касается онлайновых игр или тех, что запущены с помощью фирменных стриминговых сервисов. Предполагается, что система будет анализировать поведение игрока и показывать рекламу, которая впишется в окружение, при этом она будет персонализированной.
Это уже не первая подобная инициатива Microsoft. Ранее компания уже начала собирать данные о том, будет ли игрокам интересна более дешёвая версия Xbox Game Pass, которая будет показывать рекламу перед запуском игры. Эта форма подписки будет открывать доступ к новинкам только через полгода, так что поначалу играть можно будет только в онлайн-проекты.
Радует одно, патенты далеко не всегда добираются до стадии готовых решений, так что есть шансы, что пронесёт.
-
Торговая комиссия США подала в суд, чтобы заблокировать сделку Microsoft и Activision -
Microsoft хочет купить Netflix за 190 миллиардов долларов -
Слух: скоро Microsoft проведёт презентацию своих игр -
Microsoft выпустила кассетный плеер в дизайне Xbox Series S. Но купить его нельзя -
Microsoft анонсировала новую игровую презентацию
Drako
