Sony запатентовала технологию переноса предметов из реального мира в видеоигры
Drako
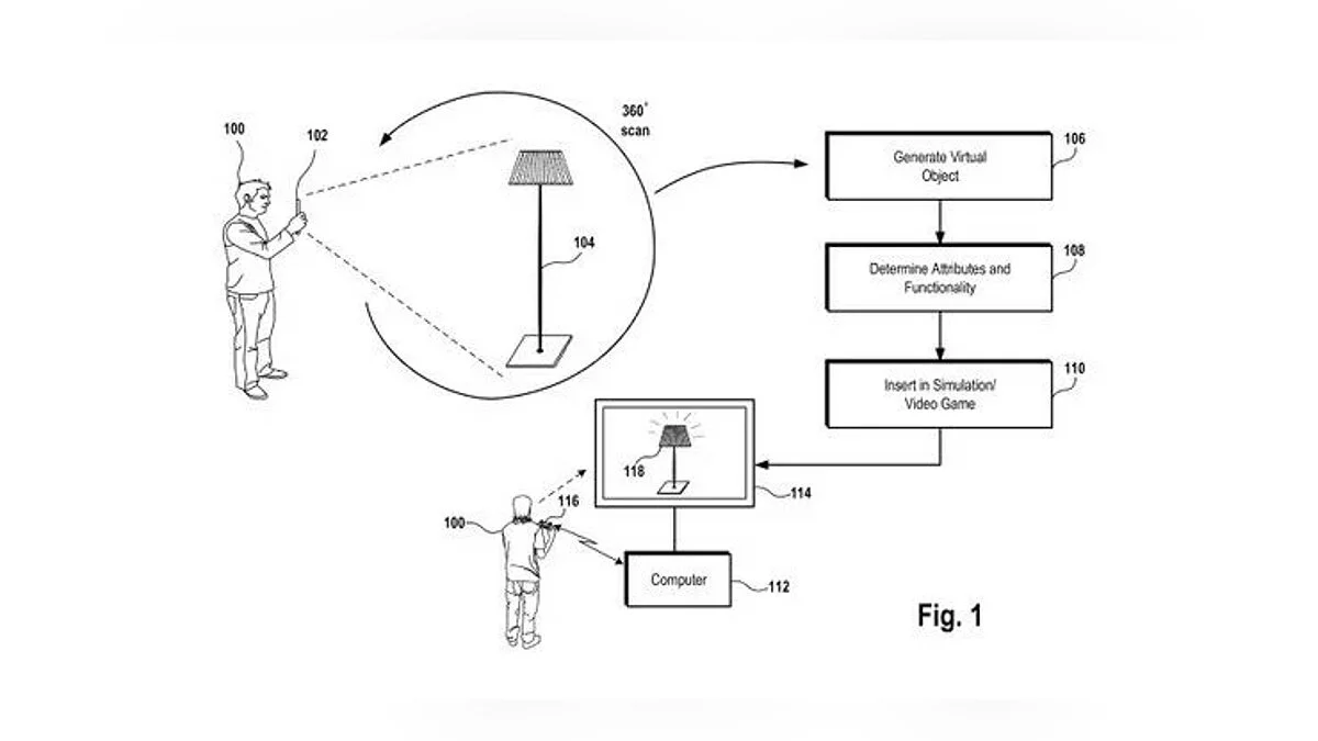
Компания Sony, после презентации PS VR2 на выставке CES 2022, обновила патент на технологию 3D-сканирования, которая позволит переносить предметы реального мира в виртуальную реальность и делать их там интерактивными. Первую версию патента компания подала 23 июня 2021 года, однако патентное ведомство тогда потребовало переработать некоторые аспекты. После этого заявку обновили.
При этом пока что неясно, как будет использоваться эта технология. Возможно, сферой её применения станут не только и не столько игры, сколько перенос в VR реальных объектов и ускорение создания моделей. Что касается именно развлекательных аспектов, то, предположительно, такой сканер можно будет использовать и для обычных игр (не в виртуальной реальности). На данный момент компания не раскрывает технические характеристики системы, потому неясно, как именно будет работать 3D-сканер.
Также отметим, что не все технологии, защищённые патентами, появляются на рынке. Есть шансы, что и эта может оказаться только идеей, а не готовым решением.
-
Sony официально подтвердила производство сериала по Twisted Metal -
Что крутого показали на крупнейшей выставке технологий CES 2022: тачка, меняющая цвет, игровой девайс от SONY, новости о God of War, самая мощная видюха и многое другое -
Sony дарит некоторым подписчикам PS Plus вместо Persona 5 Strikers другую игру -
Sony запатентовала технологию обратной совместимости игр — возможно, она позволит запускать старые игры на PS5 -
Sony анонсировала шлем PlayStation VR 2
