У Sony есть ответ контроллеру Wii U
Андрей Александрович Никитин
По данным ресурса VentureBeat, Sony располагает патентом двухлетней давности на портативный контроллер с сенсорным экраном, похожий на контроллер Wii U.
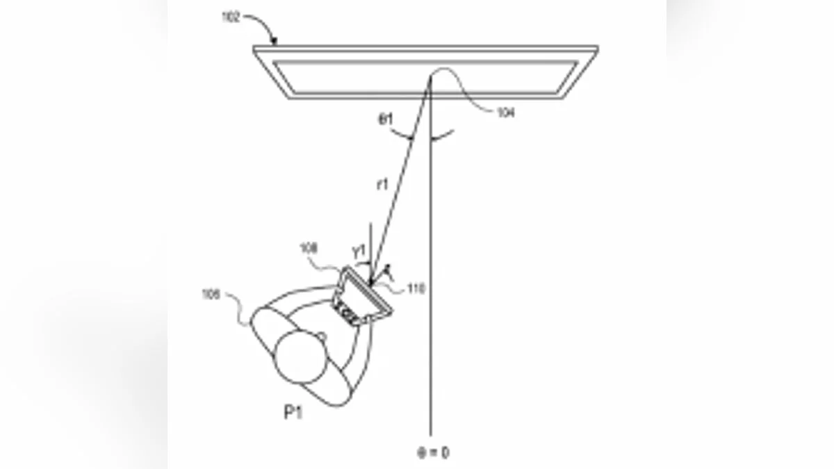
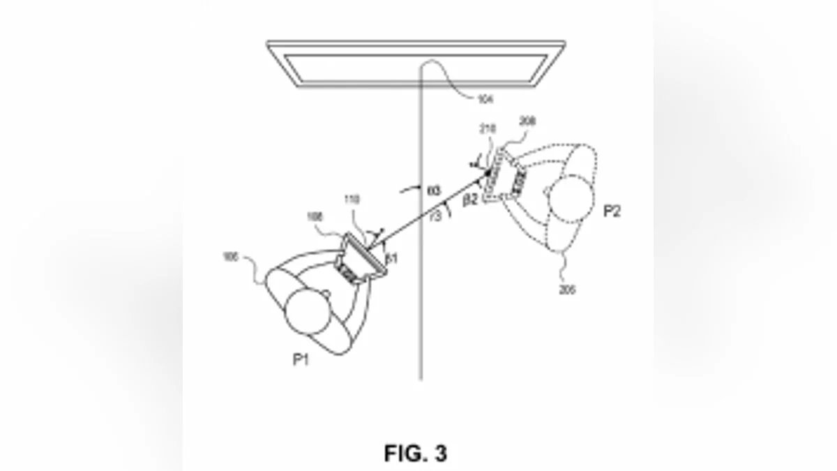
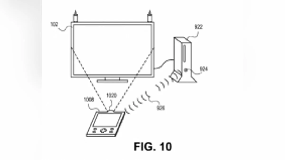
Девайс называется "Автономный портативный позиционно-зависимый игровой 3-D контроллер". Он, по-видимому, способен обеспечивать взаимодействие изображения на его экране с тем, что изображено на экране телевизора.
Согласно информации из патента, устройство может отслеживать положение геймера в реальном мире и передавать эту информацию в игру. Аватар противостоящего вам в игре геймера отображается на этом устройстве и ведет себя также, как сам игрок в реальном мире. Контроллер может даже распознавать положения и углы наклона головы и рук вашего противника и отражать эту информацию в жестах аватара.Более подробное описание, рассказывающее что еще и за счет чего умеет этот девайс, доступно здесь.
В двух словах, это либо некое портативное устройство, либо контроллер, положение в пространстве которого служит источником ввода информации. Если вы всё ещё не понимаете что это, то картинки чуть ниже помогут внести некую ясность.
-
«Клуб романтики» попал в реестр запрещенных ресурсов Роскомнадзора -
На ПК вышел шутер про Сибирь, где нужно выживать, охотиться и управлять русским поездом -
Косплеерша показала свою версию Шэдоухарт из Baldur's Gate 3 -
94% рейтинга: в Steam вышел годный сюжетный шутер в духе Doom -
Показаны новые кадры аниме про Лару Крофт -
«Анимации уровня Valve»: фанат Half-Life 2 показал, как мог бы выглядеть третий эпизод игры -
Слух: в бесплатном шутере XDefiant появятся фракции из Assassin's Creed и Far Cry -
Авторы Stellar Blade показали ранний, более откровенный концепт обтягивающего костюма Евы -
Sony анонсировала адаптер для подключения PlayStation VR2 к ПК -
Модель, подарившая тело Эшли в Resident Evil 4, показала новые фото с косплеем Кирары из Genshin Impact -
В первом трейлере фильма «Чужой: Ромул» показали ксеноморфа -
Показаны два новых трейлера мобильной NFS с открытым миром -
BenQ выпустит два новых игровых проектора -
Девушка в образе Цири из The Witcher 3 показала косплей для взрослых -
В Steam можно бесплатно сыграть в гонку с открытым миром и тюнингом Test Drive Unlimited Solar Crown -
В Steam вышел шутер с графикой как в реальной жизни -
Россиянка сделала красивый косплей на девушку из Fallout -
Авторы «GTA про полицейского» The Precinct выпустили трейлер с датой выхода -
Показан новый геймплей постапокалиптической выживалки с открытым миром Once Human -
Создатели Until Dawn показали свежие кадры хоррора по вселенной Dead by Daylight




