Представлен патент HP на ноутбук с двусторонним гибким дисплеем
Arkadiy Andrienko
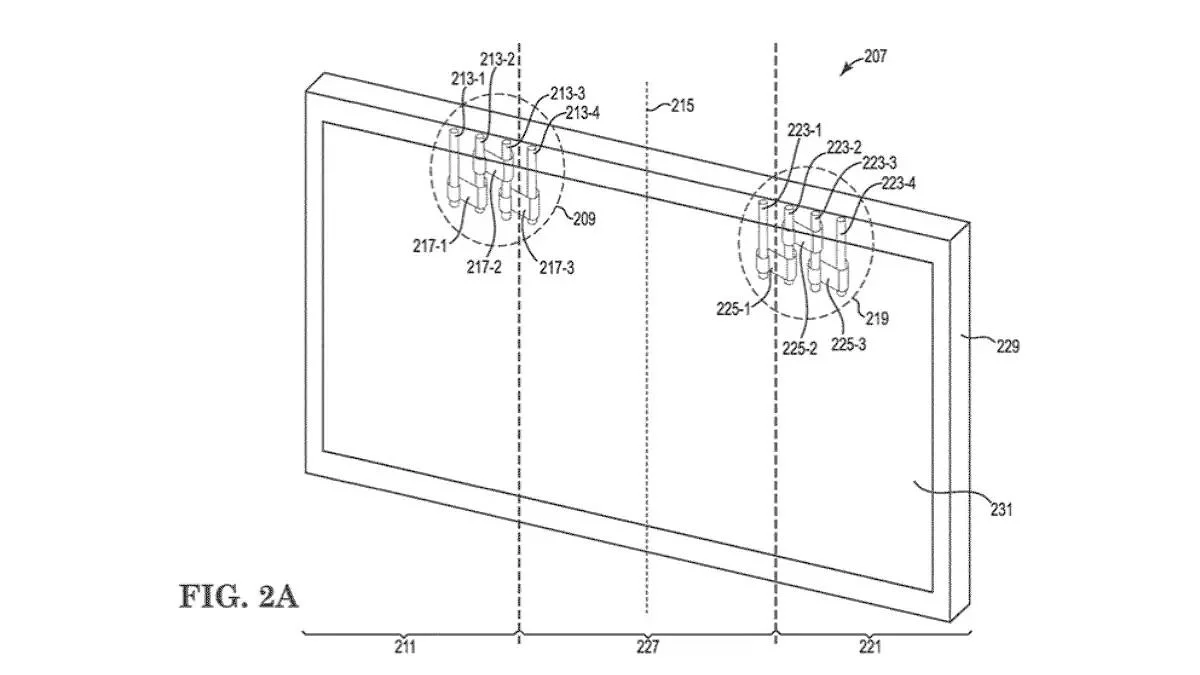
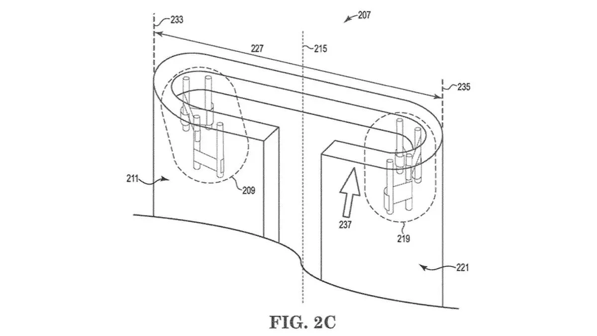
HP сделала важный шаг в мире ноутбуков, представив патент на устройство с уникальной конструкцией гибкого дисплея. Документ, опубликованный на сайте регулятора USPTO, описывает необычный дизайн ноутбука, экран которого складывается с двух сторон. В отличие от привычных раскладушек, складывающихся пополам, этот ноутбук ориентирован исключительно на удобство транспортировки. При этом у устройства отсутствует внешний дисплей — экран доступен пользователю только в разложенном виде.
Подобное решение открывает новые перспективы в разработке гибких дисплеев и продвигает идею более компактных и мобильных устройств. Несмотря на то, что такие технологии пока редкость, данный патент подчеркивает тенденцию к минимизации размеров и весов ноутбуков, что особенно востребовано в условиях роста потребности в мобильности.
Если HP удастся реализовать этот проект, ноутбуки с гибкими экранами могут занять отдельную нишу, став предпочтительным выбором для тех, кто ценит комфортное перемещение с техникой. HP делает ставку на сплошную гибкую матрицу, а не на секторальное разделенные элементы экрана, что может дать более цельное визуальное восприятие и упростить конструкцию, устраняя излишние механические элементы.
-
Ноутбуки и электроника подорожают в России на 10–15% к концу года -
Представлен ноутбук Ninkear A15 Pro с чипом AMD и 32 Гб ОЗУ -
Fujitsu выпустила самый лёгкий в мире 14-дюймовый ноутбук -
Представлен игровой ноутбук с заменяемой видеокартой RTX 4060 -
Infinix запускает новые игровые ноутбуки в России с мощными процессорами и кибердизайном


